How Do I Install A BRK Smoke Alarm?
How Do I Install Hardwired BRK Alarms?
HOW TO INSTALL BRK HARDWIRED SMOKE, CARBON MONOXIDE AND HEAT ALARMS
BRK hardwired Smoke Alarms are designed to be mounted on any standard wiring junction box to a 4-inch (10 cm) size, on either the ceiling or wall. Read “Recommended Locations For Smoke Alarms” and “Locations to Avoid For Smoke Alarms” before you begin installation.
Tools you will need:
- Needle-nose pliers or utility knife
- Standard Flathead screwdriver.
- Wire Strippers (if you are interconnecting alarms)
THE PARTS OF THE ALARM
The Mounting Bracket:
To remove the mounting bracket from the Smoke Alarm base, hold the Smoke Alarm base firmly and twist the mounting bracket counterclockwise. The mounting bracket installs onto the junction box. It has a variety of screw slots to fit most boxes.
The Power Connector: 
The power connector plugs into a power input block on the Smoke Alarm. It supplies the unit with AC power. It is universal for all current BRK and First Alert smoke, carbon monoxide and heat alarms.
- The black wire is “hot.”
- The white wire is neutral.
- The orange wire is used for interconnect. It ships in the box without the wire pre-stripped. This is for safety reasons. If it is not used it will keep the wiring from possibly shorting out.
If you need to remove the power connector, insert a flat screwdriver blade between the power connector and the security tab inside the power input block. Gently pry back the tab and pull the connector free.
The Parts of The Alarm Identified.

Note this is used for illustration purposes only. The alarm you have may not match exactly the image shown. Alarm shown is a 9120B.
1 Mounting Bracket
2 Mounting Slots
3 Locking Pins (break out of bracket)
4 Hot (Black) AC Wire
5 Neutral (White) AC Wire
6 Interconnect (Orange) Wire
7 Latch to Open Battery Compartment
8 Swing-Out Battery Compartment
9 Quick-Connect Power Connector
FOLLOW THESE INSTALLATION STEPS
The basic installation of this Smoke Alarm is similar whether you want to install one Smoke Alarm, or interconnect more than one Smoke Alarm. If you are interconnecting more than one Smoke Alarm, you MUST read “Special Requirements For Interconnected Smoke Alarms” below before you begin installation.
DANGER!
ELECTRICAL SHOCK HAZARD.
Turn off power to the area where you will install this unit at the circuit breaker or fuse box before beginning installation. Failure to turn off the power before installation may result in serious electrical shock, injury or death.
1. Using wire nuts, connect the power connector to the household wiring.
WARNING!
Improper wiring of the power connector or the wiring leading to the power connector will cause damage to the Alarm and may lead to a non-functioning Alarm.
STAND-ALONE ALARM ONLY:
- Connect the white wire on the power connector to the neutral wire in the junction box.
- Connect the black wire on the power connector to the hot wire in the junction box.
- Tuck the orange wire inside the junction box. It is used for interconnect only.
INTERCONNECTED UNITS ONLY:
Strip off about 1/2” (12 mm) of the plastic coating on the orange wire on the power connector.
- Connect the white wire on the power connector to the neutral wire in the junction box.
- Connect the black wire on the power connector to the hot wire in the junction box.
- Connect the orange wire on the power connector to the interconnect wire in the junction box. Repeat for each unit you are interconnecting. Never connect the hot or neutral wires in the junction box to the orange interconnect wire. Never cross hot and neutral wires between Alarms.

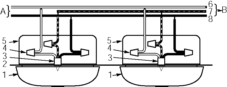
| A. Unswitched 120VAC 60 Hz source | B. To additional units; Maximum = 18 total (Maximum 12 Smoke Alarms) |
| 1. Smoke Alarm | 4. Wire Nut | 7. Interconnect Wire (Orange) |
| 2. Ceiling or Wall | 5. Junction Box | 8. Hot Wire (Black) |
| 3. Power Connector | 6. Neutral Wire (White) |
2. Remove the mounting bracket from the base, and attach it to the junction box.
3. Plug the power connector into the back of the Smoke Alarm.
4. Position the base of the Smoke Alarm over the mounting bracket and turn. The Alarm will remain secure over a wide rotation range to allow for perfect alignment. When wall mounting, this will allow fine-tuning on the positioning to compensate for misaligned wall studs and to keep the wording level. The Alarm can be positioned over the bracket every 120°. Rotate the Alarm until aligned properly.
5. Check all connections.
STAND-ALONE ALARM ONLY:
• If you are only installing one Smoke Alarm, restore power to the junction box.
INTERCONNECTED UNITS ONLY:
• If you are interconnecting multiple Smoke Alarms, repeat steps 1-5 for each Smoke Alarm in the series. When you are finished, restore power to the junction box.
DANGER!
ELECTRICAL SHOCK HAZARD.
Do not restore power until all Smoke Alarms are completely installed. Restoring power before installation is complete may result in serious electrical shock, injury or death.
6. Make sure the Smoke Alarm is receiving AC power. Under normal operation, the Green power indicator light will shine continuously.
7. If the Green power indicator light does not light, TURN OFF POWER TO THE JUNCTION BOX and recheck all connections. If all connections are correct and the Green power indicator still does not light when you restore the power, the unit should be replaced immediately.
8. Single Station Alarms: Test each Smoke Alarm. Press and hold the Test/Silence button until the unit alarms.
Interconnected Alarms: Press and hold the Test/Silence button until the unit alarms. All interconnected Alarms should sound. The other Alarms sounding only tests the interconnect signal between Alarms. It does not test each Alarm’s operation. You must test each Alarm individually to check if the Alarm is functioning properly.
DANGER!
If any unit in the series does not alarm, TURN OFF POWER and recheck connections. If it does not alarm when you restore power, replace it immediately.
9. For new construction, place supplied dust cover over Alarm to prevent damage from dust and construction debris. When construction is complete, remove cover.
WARNING!
Smoke will not be able to reach smoke sensor while cover is in place. Cover must be removed!
SPECIAL REQUIREMENTS FOR INTERCONNECTED SMOKE ALARMS
WARNING!
- Failure to meet any of the above requirements could damage the units and cause them to malfunction, removing your protection.
- AC and AC/DC Smoke Alarms can be interconnected. Under AC power, all units will alarm when one senses smoke. When power is interrupted, only the AC/DC units in the series will continue to send and receive signals. AC powered Smoke Alarms will not operate.
Interconnected units can provide earlier warning of fire than stand-alone units, especially if a fire starts in a remote area of the dwelling. If any unit in the series senses smoke, all units will alarm.
To determine which Smoke Alarm initiated an alarm:
During an Alarm:
On Initiating Alarm(s) Red LED(s) flashes (flash) rapidly.
On All Other Alarms the Red LED is Off.
After an Alarm (If Latching Feature is present): On Initiating Alarm(s) Green LED(s) On for 2 seconds/Off for 2 seconds
On All Other Alarms Green LED(s) On, Red LED(s) is Off
Compatible Interconnected Units
Interconnect units within a single family residence only. Otherwise all households will experience unwanted alarms when you test any unit in the series. Interconnected units will only work if they are wired to compatible units and all requirements are met. This unit is designed to be compatible with all current model First Alert and BRK alarms. Please refer to users manual or contact BRK Consumer Affairs for specific details.
Interconnected units must meet ALL of the following requirements:
- A maximum of 18 compatible units may be interconnected (Maximum of 12 Smoke Alarms).
- The same fuse or circuit breaker must power all interconnected units.
- The total length of wire interconnecting the units should be less than 1000 feet (300 meters). This type of wire is commonly available at Hardware and Electrical Supply stores.
- All wiring must conform to all local electrical codes and NFPA 70 (NEC). Refer to NFPA 72, NFPA 101, and/or your local building code for further connection requirements.
If you are in doubt about any of these requirements, contact an experienced Electrical Professional to complete the installation of these alarms.